Turning Technical Ideas into Practical Systems

Thoughtful engineering support for ideas at any stage. From early concepts and side projects to venture-backed startups and established teams that need clear technical direction.

Concept & Feasibility

I help solo inventors and early-stage founders turn "what if" into something real. I provide early-stage engineering feasibility studies and concept validation to refine your idea into a practical roadmap. The goal isn’t to build everything, it’s to identify what’s worth building now, what can wait, and what to skip entirely.

Fractional CTO

I provide the architectural foundation that a non-technical founder cannot build alone. By delivering high-level technical strategy for mixed teams and expert-level design from the start, I ensure your project is built right the first time, saving on long-term implementation and maintenance.

Prototyping & R&D

I provide hands-on prototyping support for electromechanical systems, either through my private lab or local makerspaces. I help you move from a theoretical design to a functional proof-of-concept that demonstrates your core value to stakeholders and investors.

Technical Problem Solving

Sometimes you need a fresh set of expert eyes. I provide structured brainstorming and engineering problem-solving for projects that have hit a wall. Whether it's a persistent system bug or a scaling bottleneck, I help your team navigate friction with a unified perspective.

Technical Network

I maintain an extensive network of specialized engineers across multiple industries. If a challenge falls outside my wheelhouse, I likely know an expert who can solve it. I also provide technical vetting for your external hires to ensure they meet the rigorous standards your project demands.

Interdisciplinary Generalist

I bring over 20 years of experience across electrical, software, controls, and mechanical engineering, with work spanning industrial automation, power systems, IoT, transportation, life sciences, and cybersecurity. I approach problems at the system level and focus on designs that are appropriately scoped, avoiding unnecessary complexity while ensuring everything works together cleanly. This approach has led to 28 issued patents across multiple industries.

Is this a good fit?

I thrive on turning ideas into something real. I enjoy collaborating with people who have a concept they want to build and are looking for experienced guidance to shape it into a practical, workable system. Engagements range from short advisory conversations to hands-on technical work, depending on what’s most useful. If you’re unsure where to start or want a second opinion before committing time and money, that’s often a good place to begin.

Selected Projects & Impact

A history of solving complex problems, from utility-scale infrastructure to hands-on prototyping.

IIoT • Edge Computing • Life Sciences

Industrial IoT & Edge Analytics

Built custom Industrial Internet-of-Things solutions enabling high-speed edge data collection and cloud modeling. Developed a custom Edge Model Runner for deploying real-time statistical analysis and predictive maintenance on-site, providing model developers with intuitive access to complex platform data.

Edge Analytics
Backend • Data Architecture • Scalability

Scalable Systems & Infrastructure Architecture

Architected major digital transformations, including the migration of a tolling system from a SaaS model to a custom self-hosted backend, and the re-engineering of a cold-storage supply chain’s data analytics algorithms, enabling them to scale to hundreds of sites.

Warehouse automation and data analytics
Software • Interface Design • Hardware

Custom Arcade Cabinet

A full-stack build merging modern computer systems and software with physical interface design. Involved custom cabinet construction and the integration of low-latency input hardware for a seamless retro-gaming experience.

Custom Arcade Cabinet Build
Controls • Renewable Energy • Rapid Development

Advanced Thrust Control Systems

Developed a new thrust control algorithm for next-generation wind turbines. Progressed from domain entry to a production-ready product in less than a year, optimizing performance for large-scale renewable energy assets.

Wind Turbine
Software • Power Systems • Digital Twins

Power Plant Analytics

Designed and installed digital solutions and advanced controls to optimize the next generation of combined-cycle power plants. Developed applications on state-of-the-art IoT platforms that continue to provide operational insights and control for utility-scale systems today.

Gas Turbine Power Plant
Controls • Embedded • Thermodynamics

Homebrew RIMS

Designed and built a Recirculating Infusion Mash System (RIMS) for precision brewing. This project involved implementing and tuning PID control logic for tight thermal tolerances, while integrating hardware e-stops and status indicators to ensure industrial-grade safety in a home environment.

Recirculating Infusion Mash System
Controls • Software • Mechanical • Optimization

Interdisciplinary Cost Reduction

Enabled a physical hardware redesign using more cost-effective materials by aligning three disparate engineering teams and implementing an improved overspeed detection algorithm. This software-driven approach reduced physical material costs by optimizing margins across the entire system.

First Engine Tested with New Algorithm
Field Engineering • Commissioning • Automation

Global Field Implementation & Testing

Extensive experience translating theoretical designs into operational reality across the globe. This includes the installation and startup of custom automation systems in regional manufacturing facilities, the commissioning of advanced power plant controls throughout Europe and the US, and the rigorous validation of model-based control systems on full-scale test rigs.

Gas Turbine Exhaust Stack
Software Engineering • Systems Architecture • Mentorship

Technical Instruction & Engineering Leadership

Instructed students and early-career engineers on the analysis and design of complex control systems and modern software engineering practices. Developed curriculum and delivered lectures bridging the gap between theoretical academic models and the rigorous architectural standards required for production-grade software and control systems.

Controls Engineering
Mechanical • Electrical • Design

Custom Teardrop Camper

Modified an existing mechanical design to optimize for specific ergonomic requirements and integrated custom utility features. The project involved developing full CAD models, building the structure against formal engineering drawings, and designing a fully custom electrical system tailored for off-grid reliability.

Teardrop Camper
Robotics • Automation • Functional Safety

Custom Robotic Systems & Full-Stack Control

Architected and managed full-lifecycle controls software and automation projects, spanning from precision multi-axis robotics to complex business logic integration. This involved developing the complete control stack, bridging the theory of operation with robust software implementation.

Factory Automation
Marine Robotics • Statistical Estimation • Research

Autonomous Underwater Vehicles

Conducted graduate research on miniature AUVs, focusing on adaptive control and statistical estimation. Developed high-fidelity subsystem models and designed compact power systems for highly constrained autonomous maritime platforms.

Autonomous Underwater Vehicle
Intellectual Property • R&D • International

Global Patent Portfolio

A career-long history of innovation with 28 patents granted across electrical, mechanical, and software domains. These inventions represent novel solutions to fundamental engineering problems, ranging from advanced motor control to complex sensor fusion for autonomous systems.

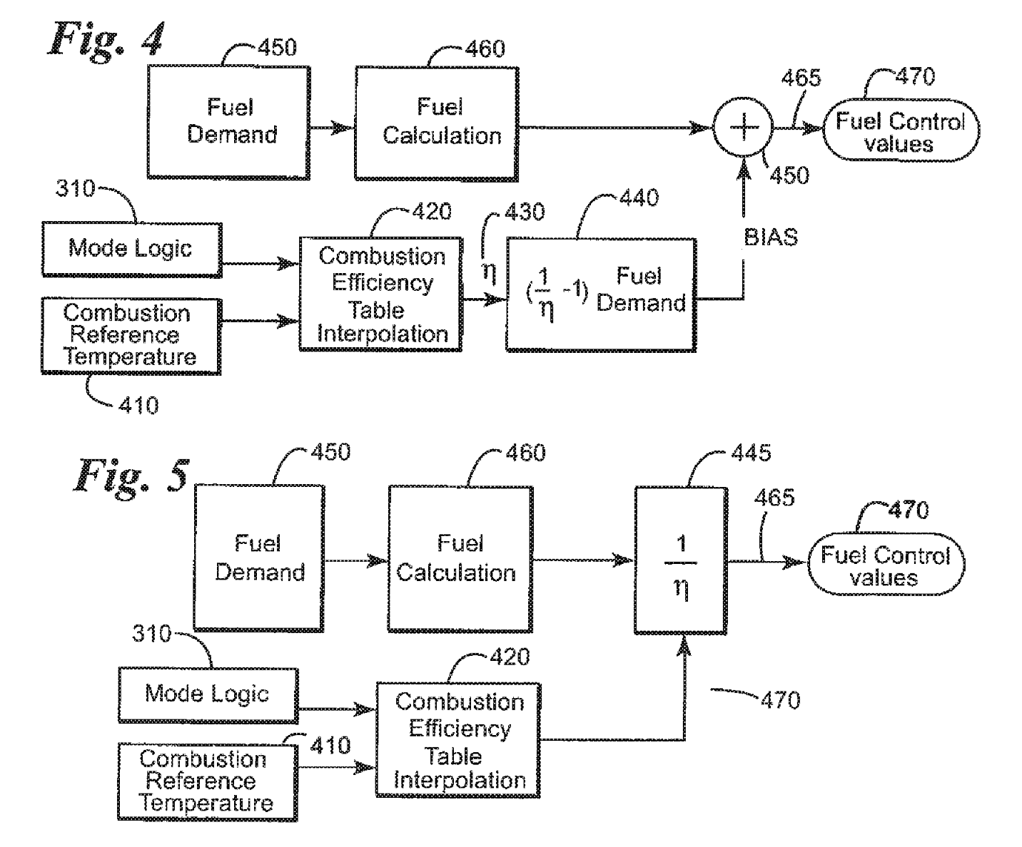
Patent for Combustion Efficiency Compensation

About Me

Bill Seely

I’m Bill Seely, an engineer with over 20 years of experience working across electrical, software, controls, and mechanical engineering. I thrive on turning ideas into practical, working solutions and enjoy collaborating with people who have a concept they want to build.

My background is rooted in the intersections between disciplines, with a BS in Computer Engineering from RIT focusing on embedded software and robotics, and an MS in Electrical Engineering from Virginia Tech focused on Control Systems. I spent much of my career at General Electric, architecting the foundations required for complex systems to scale.

My work spans a wide range of domains, including industrial automation, power systems, IoT, transportation, life sciences, and cybersecurity. This breadth allows me to see the connections others might miss and approach problems at a system level, ensuring designs are appropriately scoped and function together cleanly. Over the course of my career, this approach has resulted in 28 issued patents across multiple industries, reflecting a combination of creativity, technical depth, and system-level thinking.

I maintain a private lab with a full digital and RF electronics setup for rapid prototyping and research, and I also leverage local maker resources at Synergy Mill for projects that require additional space or equipment. Beyond hands-on prototyping, I’m active in Greenville’s broader startup and tech community through HackGreenville, staying connected with other makers, entrepreneurs, and innovators in the region.

I typically collaborate with people who have an idea they want to build and are looking for guidance to shape it into a practical, workable system. Engagements range from short advisory discussions to hands-on technical work, depending on what’s most useful for the project. While my practice is typically remote-first, I’m available for select in-person engagements and high-impact onsite collaboration.

If you have an idea you’d like to explore or a technical problem that’s got you stuck, feel free to get in touch. I enjoy helping turn concepts into practical, working solutions.